Just like we thank Porsche for still offering a manual transmission in its sports cars, in the future you gotta thank carmakers who offer a steering wheel at all. But those who offer might offer really strange ones. I mean, a lot stranger than Tesla’s yoke. Take this BMW’s upcoming (?!) steering wheel handle, for example. The patent drawings show that it is a lot weirder than you could possibly imagine.
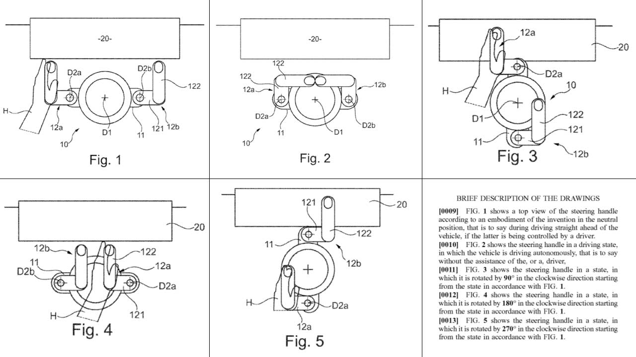
The patent was filed by BMW in October 2019 on behalf of five inventors (one American and four germans), and it was published only in December 2021. Clearly, this steering handle is designed for the fully autonomous era in the future where you can fold away the arms to free up some space when the vehicle is driving autonomously. The drawings show different ways you can fold the arms, although not sure why you would want those many folding positions; maybe just because it is possible to do so.
Source: USPTO
Leave a Reply
Note: Comments that are unrelated to the post above get automatically filtered into the trash bin.
Leave a Reply
Note: Comments that are unrelated to the post above get automatically filtered into the trash bin.
