While Bugatti is busy working on a new V16 engine, its co-parent Porsche seems to be busy working on a new and...
An EV with “manual transmission” I’ll tell you why I put those in air quotes in a minute, but yea, a recently discovered...
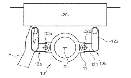
Just like we thank Porsche for still offering a manual transmission in its sports cars, in the future you gotta thank carmakers...
It sounds familiar, or should we say — it turns familiar? A bunch of future Rivian owners have congregated in an online...
One of the secret projects Ferrari might be working on right now is an electric vehicle, or at least a new EV...
Just like Apple, Facebook too seems to be getting ready for ACES or CASE (Autonomous, Connected, Electric, Shared) future. No, we’re not talking...
Toyota has announced that the company will grant royalty-free licenses on nearly 24,000 patents it holds (including some pending applications) for vehicle electrification-related...
In this connected world with several cloud storage options, “stealing technology” doesn’t come as a surprise, not even remotely (pun intended). So...
Stringent emission norms around the globe have left the automakers with no choice but to downsize and add turbos. It appears that...